Online Catalog

FS60

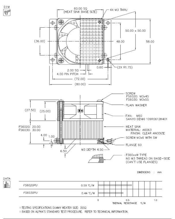
FS60 SPECIFICATION & THERMAL DATA
規格名称 :
FS60
{{boxModelName.HSHEIGHT}}
{{boxModelName.OPTION}}
catalog 3D CAD RoHS REACH
Step 1: ヒートシンク(全高)を選択
Step 2: オプションを選択
ヒートシンク(全高)
オプション
記号 サイドタップ

サイドタップの有無について

標準の取付フランジを使用しない場合、 ヒートシンクベースのサイドタップ無しのオプションを選択してください。

No Sidetap

サイドタップ無し

With Sidetap

サイドタップ有り

閉じる

取付金具
(取付ネジ含む)
ファン取付ネジ
(ワッシャー含む)
ファン 重量
(g)
ダウンロード 追加工
無し 無し 無し 無し {{setModelWeight.weight_W}}
追加工指定
最小発注数:1個
標準納期:7-10日
※更に特急対応いたします
有り 無し 無し 無し {{setModelWeight.weight_A}}
有り FLANGE60 {{setModelAccessoryName.screw}} 無し {{setModelWeight.weight_PF}} 無し
有り FLANGE60 {{setModelAccessoryName.screw}} M60 {{setModelWeight.weight_PU}}
製品は出荷時に組み立てされておりません。
FS60 Data
  • TESTING SPECIFICATIONS DUMMY HEATER SIZE: 35 SQ
  • BASED ON ALPHA'S STANDARD TEST PROCEDURE. REFER TO TECHNICAL INFORMATION.
サイトマップ | お問合せ | © 2012 Alpha Company Ltd.